38 ramsey winch parts diagram
The most common mistake that people make when working with the Schedule C is getting confused about which tax credits they need to take. For example, many people mistakenly believe that if they have business expenses they only need to itemize them on their Schedule C. The Ramsey Winch has a world-wide reputation for toughness and reliability. The design of this long established product has been well proven over the years for many applications. To ensure the best service from your Ramsey Winch it is most important to follow these instructions for its fitting and subsequent operation.
02.11.2021 · For winch capacities, a complete parts list and an exploded diagram of your specific Superwinch, refer to the Technical Data Sheet included in this package. com Superwinch, LTD. 58SUPERWINCH IS BACK Superwinch products have been missing from the market place for some time. Welcome to Pure Tacoma! At Pure Tacoma, you will find the largest selection of Tacoma parts …

Ramsey winch parts diagram
23.02.2004 · [prev in list] [next in list] [prev in thread] [next in thread] List: llvm-commits Subject: [llvm-commits] CVS: llvm/test/Programs/MultiSource/Benchmarks/MallocBench ... Hier sollte eine Beschreibung angezeigt werden, diese Seite lässt dies jedoch nicht zu. Save On The Parts You Need To Fix Your Winch. ... Ramsey Winch Electric RE8000 Parts Diagram Ramsey Winch Electric RE8000 Parts List.
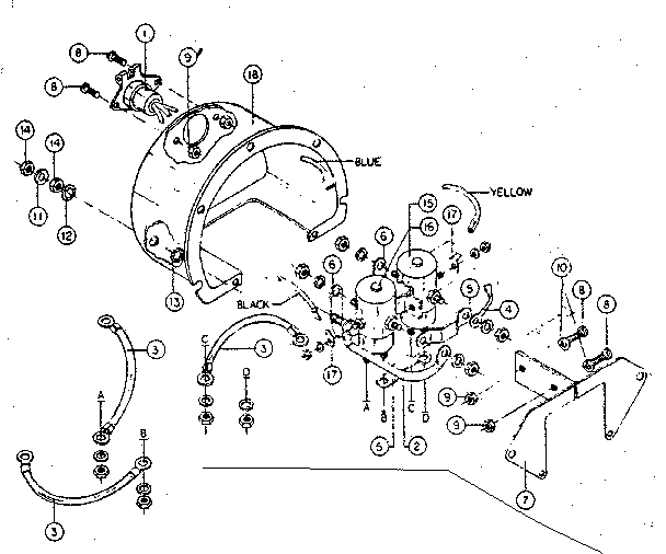
Ramsey winch parts diagram. Ramsey Worm Gear Winch Cable: 3/8” x 50’ Decking: Extruded Aluminum Decking Rails: Non-Removable Deck Rails Deck Finish: Non-Polished. 12 lb badland winch wiring diagram as well as remote control winch solenoid wiring diagram along with wiring diagram moreover 12 volt winch solenoid. ,000. Ramsey Best Value 12 Volt DC Powered Electric Truck Winch — 8,500-Lb. Fits old … Ramsey Winch Hydraulic H-600 Series Parts Diagram Ramsey Winch Hydraulic H-600 Series Parts List diagram3 diagram4. hydraulic-worm-gear-parts-link ... Just NSN Parts, owned and operated by ASAP Semiconductor, supplies various parts SC-616-1CG-226, RPH10000, RPH 45000, RPDSG1216, REP 6000 from premium manufacturer Ramsey Winch Co.You can type in the NSN such as 3020009496295, 2590015815830, 2590015713681, 3020015096888, 2590013012853 into our user-friendly search engine to find the exact part you need. RAMSEY WINCH MODEL 600/H-600 SERIES PLEASE READ THIS MANUAL CAREFULLY. This manual contains useful ideas in obtaining the most efficient operation from your Ramsey Winch, and safety procedures one needs to know before operating a Ramsey Winch. WARRANTY INFORMATION Ramsey Winches are designed and built to exacting specifications.
Badland 12000 lb Winch Review If your best weekend is associated with the opportunity to explore new terrains, then Badland 12000lb winch will be an indispensable device to pull your Jeep from mud. lb badland winch wiring diagram as well as arctic cat wiring diagram moreover warn winch wiring diagram furthermore badland winches wiring. News. 5,572 reviews scanned The 10 Best 12 Volt … Save On The Parts You Need To Fix Your Winch. ... Ramsey Winch Electric RE12000 Parts Diagram Ramsey Winch Electric RE12000 Parts List. 03.11.2021 · Winch parts include replacement motors, shifter assemblies, tensioner air bags and winch seal kits. 5HP vs 4. It’s also waterproof, but you’ll still want to mount it in a safe place where it won’t get hit by debris, overheat, or be in the way of moving parts. Only problem I had was VW puts their tow hook under the side vent, so the cable retracted on one side and bunched up. 3mm x 100ft ... Amazon's Choice for "ramsey winch parts" VIPER Universal Winch Roller Fairlead - 10 inch Bolt Pattern. by MotoAlliance. $ $ 44 FREE Shipping on eligible orders. 5 out of 5 stars 6. Product Features Capacity: lb - lb winches.Ramsey model REP R winch genuine partsRamsey Winch Parts Diagram Wiring - diagramweb.net.
Address: 19303 Davison W, Detroit, MI 48223. Phone: (877) 869-0030 Working Days / Hours: Monday-Friday: 8AM to 5PM Ramsey Winch Wiring Diagram – ramsey 8000 winch wiring diagram, ramsey 9000 winch wiring diagram, ramsey pro 9000 winch wiring diagram, Every electric structure is composed of various distinct parts. Each component ought to be set and linked to different parts in specific manner. If not, the arrangement will not work as it ought to be. Ramsey Winch Parts On Sale Now At Zequip Equipment Superstore. Find The Parts To Fix Your Ramsey Winch. CABLE CLAMP IS NOT DESIGNED TO HOLD LOAD. DISCONNECT THE REMOTE CONTROL SWITCH FROM WINCH WHEN NOT IN USE. A RAMSEY. PART NO. 282053 SAFETY ON-OFF SWITCH IN ...
Ramsey Winch REP 8000 Parts On Sale Everyday At Zequip. ... Ramsey Winch REP 8000 Solenoid Parts Diagram ... Ramsey Planetary Electric Winch Parts.
Model 58X Power Take-Off. Model 100 Winch Parts List. Ramsey Model 200 Winch Parts List. Ramsey Military M-38 PTO. Ramsey Model DP Series Dual Power Take-Off. Ramsey Model PT-1 Series Power Take-Off and Chain Drive Case. Overdrive Schematic and Parts List. Handbrake Schematics, Internal & External. Warn Lock-O-Matic Hub.
Find Ramsey Winch Replacement Parts and get Free Shipping on Orders Over $99 at Summit Racing! Ramsey Winch replacement parts are part of their extensive selection of replacement parts and accessories designed specifically for their winches. They help you maintain and improve winches that were built for strength and long-lasting dependability--the one and only Ramsey Winch.
Order Direct from a parts diagram; Menu Winch Replacement Parts. Replacement parts for Warn, Ramsey and other winches are available for purchase from Zip's AW Direct today. Winch parts include replacement motors, shifter assemblies, tensioner air bags and winch seal kits. Get your inoperable winch back up and running again with our selection of new components. ...
Save On The Parts You Need To Fix Your Winch. ... Ramsey Winch Electric RE8000 Parts Diagram Ramsey Winch Electric RE8000 Parts List.
Hier sollte eine Beschreibung angezeigt werden, diese Seite lässt dies jedoch nicht zu.
23.02.2004 · [prev in list] [next in list] [prev in thread] [next in thread] List: llvm-commits Subject: [llvm-commits] CVS: llvm/test/Programs/MultiSource/Benchmarks/MallocBench ...

I Have Ramsey 8000 To 12000 Lb Winch That I Bought Second Hand The Numbers Are Mostly Worn Off The Info Plate I Would

Order Genuine Oem Replacement Parts For Your Ce M8274 50 8 000 Lb Winch Replacement Parts From Your Warn Authorized Parts And Service Center Winchserviceparts Com

Ramsey Winch Company Owner S Manual Model Rep 8 5e Front Mount Electric Winch 12 And 24 Volt Available Pdf Free Download
0 Response to "38 ramsey winch parts diagram"
Post a Comment