MerCruiser # 26 GM 4 Cylinder 181 cid (3.0L). 90-861329--1 ... If boat is to be placed in winter storage, carburetors must be run dry at idle rpm. Permanent.422 pages MERCARB TWO-BARREL. 50-766-4 ... follow numerical outline in making adjustments necessary for cartxiretor being ... See MerCruiser Service Bulletin 97-8.3 pages
Use the exploded view as a guide. The numerical sequence may ... carburetor cleaning solvent to soak parts long enough to soften ... MCM 2.5L/3.0L.

Mercruiser 3.0 carb diagram
‑8M0045397CARBURETOR ASSEMBLY$1,081.18‑807505A1CARBURETOR ASSEMBLY, Swiss Emissions$0.001‑‑NOT SOLD SEPARATE, Air Horn Assembly$0.002‑‑NOT SOLD SEPARATE, Housing, Choke$0.00View 37 more rows
Mercruiser 3.0 carb diagram. ‑8M0045397CARBURETOR ASSEMBLY$1,081.18‑807505A1CARBURETOR ASSEMBLY, Swiss Emissions$0.001‑‑NOT SOLD SEPARATE, Air Horn Assembly$0.002‑‑NOT SOLD SEPARATE, Housing, Choke$0.00View 37 more rows
I have a 1988 Mercruiser 3.0L 4 cylinder with a 2 barrel ...
Mercruiser 3.0 Firing Order Diagram
3 0 L Mercruiser Engine Diagram | My Wiring DIagram
MerCruiser 3.0L GM 181 I / L4 1987-1989 Carburetor ...
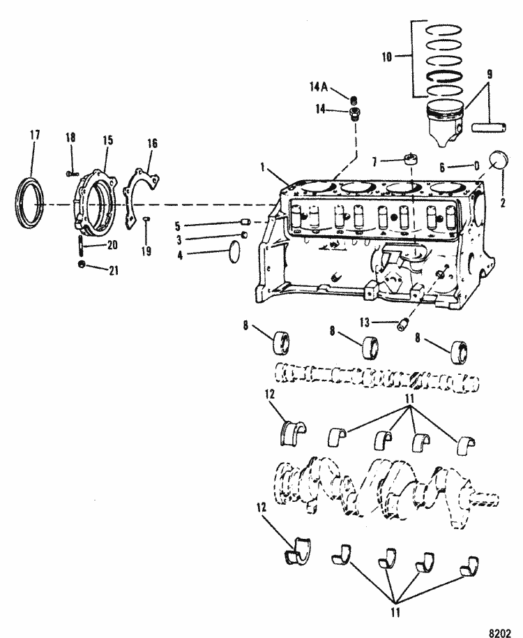
MerCruiser 3.0LX GM 181 I / L4 1990-1995 Cylinder Block ...
39 3.0 Mercruiser Starter Wiring Diagram - Wiring Niche Ideas
MerCruiser 4.3L (Gen. II) (2 Barrel.) GM 262 V-6 1992-1993 ...
Steak Dinner
Mercruiser Engine Wiring Harness | Boat Restoration
MerCruiser 140 GM 194 I / L6 1963 Fuel Pump, Fuel Filter ...
A new 3.0L MPI Mercruiser fuel injected bobtail marine ...
MerCruiser 3.0L GM 181 I / L4 Carburetor Kit (Tks) Parts
MerCruiser 3.0L GM 181 I / L4 1987-1989 Exhaust Manifold ...
301 Moved Permanently
Marinara Ingredients
Home & Cooking
Mercruiser 4.3 Wiring Diagram | Free Wiring Diagram
MerCruiser 4.3L Carburetor Alpha / Bravo Carburetor Parts
Mercury MerCruiser Sterndrive Parts by Year Mercruiser OEM ...
Mercarb Marine Technical | carburetor-parts
Mercruiser 3.0 Wiring Diagram | Wiring Diagram
54 3.0 Mercruiser Starter Wiring Diagram - Wiring Diagram Plan
MerCruiser 3.0L GM 181 I / L4 Carburetor, Mercarb Parts
Mercruiser Engine Wiring Harnes - Wiring Diagram
Please when you download the pictures tag and follow me on instagram: https://www.instagram.com/emilianovittoriosi/ you will help me to grow up! Thank you!
CARBURETOR(MERCARB) (165-170-3.7L) - 1985 Mercruiser 170 ...
3.0 MERCRUISER 135 HP 4CYL ENGINE - YouTube
Mercruiser 3.0L Alpha TKS 135 HP
[DIAGRAM] Mercruiser 3 0 Engine Diagram FULL Version HD ...
MerCruiser 3.0L GM 181 I / L4 Fuel Pump & Carburetor Parts
Standard Cooling System Single and Three Point Drain FOR ...
MerCruiser 4.3L Carburetor Alpha / Bravo Carburetor Kit ...
OMC Stern Drive Carburetor & Fuel Pump Parts for 1988 3.0L ...
2001 4.3 Mercruiser Oil Sensor Wiring Diagram
Carburetor Kit TKS FOR MERCRUISER 3.0L ALPHA ONE
I have a 04 bayliner with a 3.0 mercruiser 4 cyl. when i ...
MerCruiser 4.3L (Gen. II) (2 Barrel.) GM 262 V-6 1993-1995 ...
Mercruiser 3.0 Starter Wiring Diagram
0 Response to "38 mercruiser 3.0 carb diagram"
Post a Comment