39 tecumseh engines parts diagram
Tecumseh Parts by Equipment | PartsTree The best way to buy repair parts for your Tecumseh is to begin by searching for your Tecumseh model number on PartsTree and use the OEM Tecumseh parts diagrams to find the parts that fit exactly like the originals from the Tecumseh factory. When you locate your Tecumseh model tag, take a picture for future repair parts needs. Tecumseh 10 Hp Engine Diagram TECUMSEH ENGINE PARTSFOR ALL TECUMSEH ENGINES. Description, Price. 800265B, TECUMSEH ENGINE 3 HPFor 10 HP HM100. $43.63. We're here to help you learn more about 195cc tecumseh ohvengine parts, and also March 10, 2015. Page 2. juliettetheexplorer.com. Tuesday, 03-10-2015TECUMSEH 11 HP ENGINE PARTS TECUMSEH ENGINE PARTS DIAGRAM.
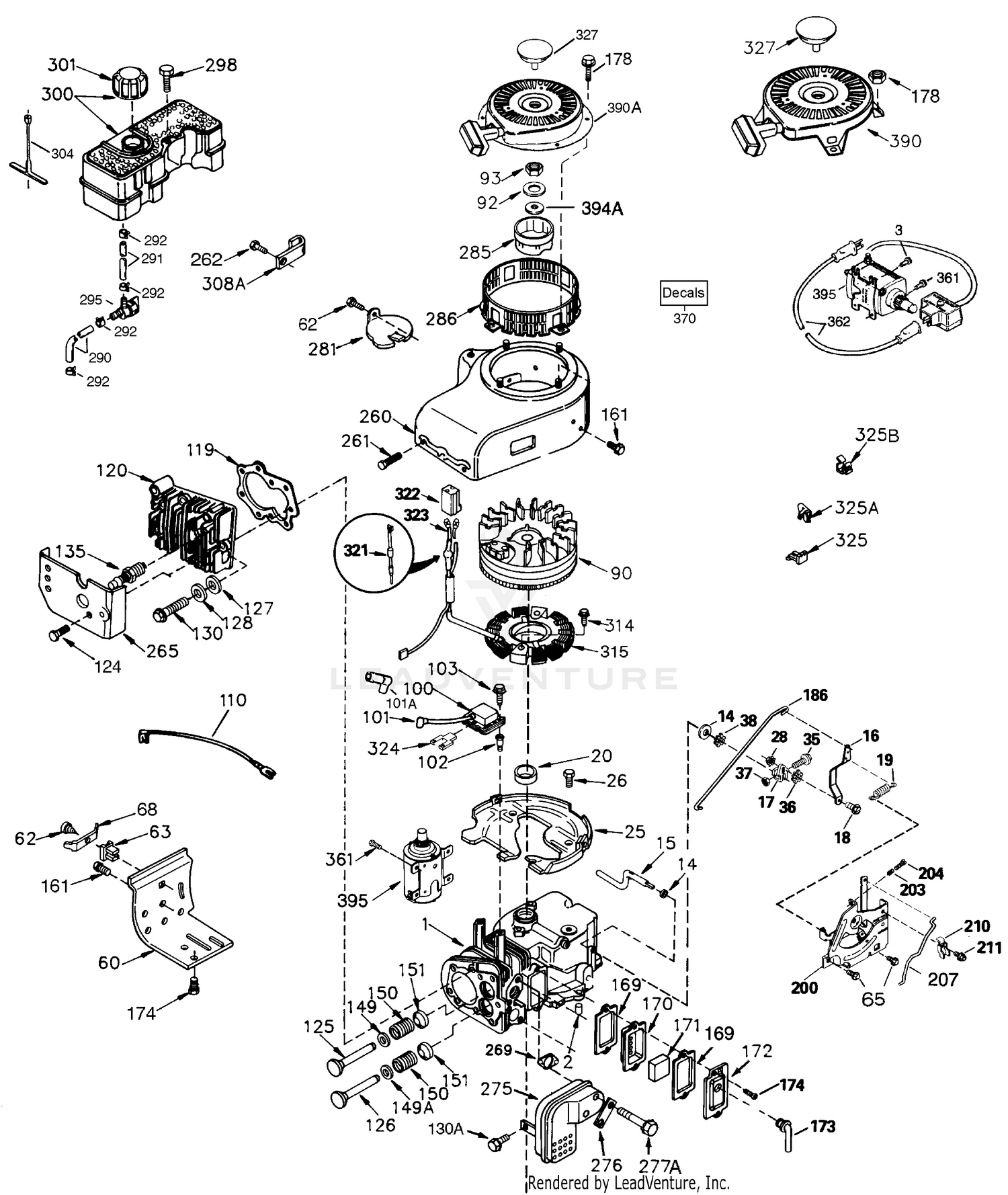
Tecumseh Governor Linkage Diagram - Diagram Finder In this post, you will find a detailed Tecumseh Governor Linkage diagram showing you all the components of a governor and how it works to detect changes in load and adjust the speed in the engine. We also added a guide to issues that are common with governors and how to adjust the governor to produce the desired results. Contents [ show]

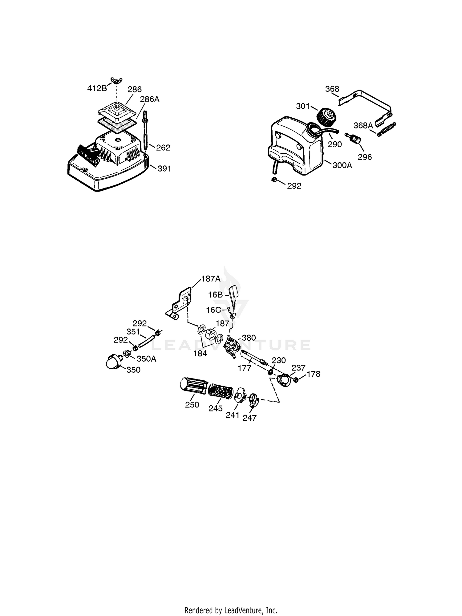
Tecumseh engines parts diagram
PDF 3 to 10 HP 4-Cycle L-Head Engines - Allotment & Gardens ENGINE IDENTIFICATION Tecumseh engine model, specification, and serial numbers or (date of manufacture, DOM) are stamped into the blower housing or located on a decal on the engine in locations as illustrated (diag. 1 & 2). NOTE: On some LEV engines, a cover bezel must be removed to provide access to the identification decal (diag. 1). Tecumseh Lev120 Parts Diagram - schematron.org 22.12.2018. 4 Comments. on Tecumseh Lev120 Parts Diagram. Tecumseh LEV parts lists. Parts list directory for Tecumseh LEV engine models. Click on the engine specification number below to view parts list. Tecumseh LEV Exploded View parts lookup by model. Complete exploded views of all Tecumseh Lev Parts Diagrams. Tecumseh 2 Cycle Horizontal Parts ... - Jacks Small Engines Parts lookup for Tecumseh power equipment is simpler than ever. Enter your model number in the search box above or just choose from the list below. How to FIND Your Tecumseh Model Number > Tecumseh 2 Cycle Horizontal Parts Diagrams 1500 Series AH 520 AH 600 HSK 600 HSK 635 HSK 840 HSK 845 HSK 850 HSK 870 TCH 200 TCH 300 TH098SA TH139SA TH139SP
Tecumseh engines parts diagram. Tecumseh HH60-105115H - Tecumseh Engine Engine Parts List ... Engine Engine Parts List #1 Parts Diagram 1 Tecumseh Part# 34915A "Cylinder (Incl. 2, 3 & 4) 2-5/8" Bor e Currently unavailable 2 Tecumseh Part# 27652 Dowel Pin In Stock, Qty 5 $ 2.22 Add to Cart 0 3 Tecumseh Part# 27642 Oil Drain Plug (Sq. hd., 1/4-18) In Stock, only 3 left! $ 1.76 Add to Cart 0 4 Tecumseh Part# 32630 Seal, Oil Engine Specifications and Line Drawings for Tecumseh Small ... Engine Specifications and Line Drawings for Tecumseh Small Engines Email: sales@smallenginesuppliers.com To inquire about a short block, or other parts, please use our Engine Inquiry Form Tecumseh Parts - Lawnmower Pros We are an Authorized Tecumseh Dealer and Service Center carrying a huge selection of parts from Tecumseh including Air Filters, Oil Filters, Starter Motors and more ready to ship direct to your door. We even have Tecumseh Replacement Engines. We want to put the Dipsticks, Mufflers , Oil Drain Plugs or other repair part you need in your hands today! PDF Tecumseh Engine Parts Diagram Tecumseh Engine Parts Diagram Tecumseh Small Engine Parts and Repair Information. Tecumseh has been one of the most prominent names in the small engine business for over a hundred years, growing in the 1960's into the second largest manufacturer of small engines in North America. Tecumseh Small Engine Parts and Repair Information ...
Tecumseh Engine Parts at TecumsehEngineParts.com Commonly Replaced Tecumseh Engine Parts: Tecumseh Engine Rebuild Kit, Inlet Needle. Item Number 1606506. Tecumseh Engine Ignition Coil, Lamination. Item Number 1719806. Tecumseh Engine Air Filter, Air Cleaner. Item Number 1606499. Tecumseh Engine Recoil Starter Assembly, Starter Rewind. Item Number 1606503. Tecumseh Engine Carburetor. Item ... Tecumseh Lawn Equipment Parts | Genuine Parts | Huge ... Tecumseh products parts that fit, straight from the manufacturer. Use our interactive diagrams, accessories, and expert repair help to fix your Tecumseh products ... This is an OEM replacement screw made for Toro lawn mowers with Tecumseh engines. This part is generally used to secure the starter grille to the rewind starter. ... Please make ... Tecumseh Engine Parts | MTD Parts Tecumseh Engine Parts | MTD Parts Tecumseh Engine Parts Browse a selection of carburetors, starters, oil filters, air filters, ignition coils, spark plugs and more for your Tecumseh equipped walk-behind lawn mower, snow blower, or outdoor power equipment. Our Part Finder makes it easy to find the parts you need at MTD Parts. 187 Results Sort By: Tecumseh Engine Information at TecumsehEngineParts.com For Tecumseh Small Engine Parts, Videos, Repair Help, Maintenance Advice and more, visit this excellent resource. Here are a few useful tips on maintaining your Tecumseh small engine: Clean or replace spark plugs frequently. Most small engines use a single spark plug, so if the spark plug fails, it stops the engine completely.
PDF Tecumseh Replacement Parts - Small Engine Suppliers * Real One Parts Numbers in Red identify the retail packaged part version. This information is provided for reference only. To obtain precise part number(s) you will need the model, specifi cation number, and the Tecumseh parts look-up system. Air Cleaners 450257 450252 450255 Part No.: 450255 (740097) Description: Flocked Screen Tecumseh Engine Parts | Genuine Repair Parts from RCPW Contact our expert team at 800-937-7279, enter your Tecumseh lawn mower engine part below or use our free parts lookup to find the perfect match to complete your repair. Browse Aftermarket Tecumseh Parts Air Filters Bearings & Bushings Brake Pads Carburetor Parts Carburetors Connecting Rods Couplers Diaphragms Drive Shafts Tecumseh H70-130176E 130176E-H70 Parts Diagram for Engine ... Help with Jack's Parts Lookup Tecumseh H70-130176E 130176E-H70 Engine Parts List #1 Parts Diagram Engine Parts List #1 Engine Parts List #2 Engine Parts List #3 H70-130176E 130176E-H70 Engine Parts List #1 JavaScript Disabled - Unable to show Cart 1 32586C CYLINDER $230.49 Add to Cart 2 27652 PIN $1.74 Add to Cart 3 27642 Oil Drain Plug $1.39 Tecumseh Engines O Series Parts with Diagrams - PartsTree Tecumseh Engines: O Series ( 3373 Models ) OH120-175000 - Tecumseh Engine. OH120-175000A - Tecumseh Engine. OH120-175000B - Tecumseh Engine. OH120-175000C - Tecumseh Engine. OH120-175001 - Tecumseh Engine. OH120-175002 - Tecumseh Engine. OH120-175002A - Tecumseh Engine. OH120-175003 - Tecumseh Engine.
Tecumseh Small Engine Parts and Repair Information ... Tecumseh engines power residential as well as commercial equipment - lawn mowers, snow blowers, chippers, shredders, edgers, augers, pressure washers, tillers, pumps, generators, recreational vehicles and more. The Tecumseh label is synonymous with powerful, dependable, well designed and long lasting machines.
Tecumseh OH195EA-71263H Parts Diagram for Engine Parts ... Tecumseh OH195EA-71263H Engine Parts List #OHH4565 Parts Diagram Engine Parts List #OHH4565 Engine Parts List #OHH4565A OH195EA-71263H Engine Parts List #OHH4565 JavaScript Disabled - Unable to show Cart 1 001 "order short block or engine no longer available No Longer Available 2 26727 Dowel Pin $1.39 Add to Cart 4 31857 PIPE NIPPLE $7.19
Tecumseh Parts Lookup by Model - Jacks Small Engines Parts lookup for Tecumseh power equipment is simpler than ever. Enter your model number in the search box above or just choose from the list below. How to FIND Your Tecumseh Model Number > Tecumseh Parts Diagrams 2 Cycle Horizontal 2 Cycle Short Blocks 2 Cycle Vertical 4 Cycle Horizontal 4 Cycle Short Blocks 4 Cycle Veritical
Tecumseh Engine Models at TecumsehEngineParts.com 13.0 Horsepower Tecumseh Engine - Model OH358SA, OHSK130 - Overhead Valve Winter Application. 2.0 Horsepower Tecumseh Engine - Model TM049XA, TC300 - Two Cycle Multi Applications. 3.0 Horsepower Tecumseh Engine - Model TV085XA, AV520 - Two Cycle Various Applications. 3.0 Horsepower Tecumseh Engine - Model TH098SA, HSK600 - Two Cycle ...
HMSK105-159908B - Tecumseh Engine Parts & Diagrams Parts ... HMSK105-159908B - Tecumseh Engine Parts & Diagrams Parts Lists & Diagrams. Engine. Recommended Parts Show $ $ $ $ HMSK105-159908B - Tecumseh Engine > Parts Diagrams (2) Hide . Engine Parts List #1. Engine Parts List #2. Attachments For This Model (4) Hide . ES110-1-33329E - Tecumseh Starter. RS-590749 - Tecumseh Starter ...
Tecumseh H35-45593R 45593R-H35 Parts Diagram for Engine ... Tecumseh H35-45593R 45593R-H35 Engine Parts List #1 Parts Diagram Engine Parts List #1 Engine Parts List #2 Engine Parts List #3 H35-45593R 45593R-H35 Engine Parts List #1 JavaScript Disabled - Unable to show Cart 1 36560A NO LONGER AVAILABLE No Longer Available 2 26727 Dowel Pin $1.39 Add to Cart 3 27642 Oil Drain Plug $1.39 Add to Cart 6 32600
Tecumseh Engine Parts | PartsWarehouse Tecumseh 4-Cycle Horizontal HM70-HM80-. Tecumseh 4-Cycle Horizontal HM85-HM100. Tecumseh 4-Cycle Horizontal HMSK-HMXL. Tecumseh 4-Cycle Horizontal HS40-HS50. Tecumseh 4-Cycle Horizontal HSK35-OH180. Tecumseh 4-Cycle Horizontal OH195EA-OV195XA. Tecumseh 4-Cycle Short Blocks Horizontal. Tecumseh 4-Cycle Short Blocks Vertical.
Tecumseh Small Engine Parts - psep.biz FOR TECUMSEH ORIGINAL EQUIPMENT PARTS WITH PARTS LOOKUP DIAGRAMS, PLEASE READ BELOW BEFORE CLICKING ON THE DIAGRAM. The parts lookup website is original equipment parts only.This website has aftermarket and OEM mix on the most common parts. Please note that when you go to the new website if any items are in your cart they will not transfer over. All though they will be saved for 24 hours. When ...
Tecumseh Engines V Series Parts with Diagrams - PartsTree Fix it fast with OEM parts list and diagrams. The Right Parts, Shipped Fast! ... Tecumseh Engines: V Series Parts Lookup & Diagrams Tecumseh Engines: V Series Parts Lookup & Diagrams Tecumseh Engines: V Series ( 1881 Models ) V40-50000F - Tecumseh Engine. V40-50008F - Tecumseh Engine ...
Tecumseh parts for small engines and ... - M-and-D.com Tecumseh parts for small engines and Peerless transmissions. Tecumseh is one of the oldest and best known small engine brands anywhere. Together with their Peerless transmission and transaxle division, Tecumseh is a leader in the lawn mower, tractor and snow blower industry. We carry all Tecumseh and Peerless parts.
Tecumseh 2 Cycle Horizontal Parts ... - Jacks Small Engines Parts lookup for Tecumseh power equipment is simpler than ever. Enter your model number in the search box above or just choose from the list below. How to FIND Your Tecumseh Model Number > Tecumseh 2 Cycle Horizontal Parts Diagrams 1500 Series AH 520 AH 600 HSK 600 HSK 635 HSK 840 HSK 845 HSK 850 HSK 870 TCH 200 TCH 300 TH098SA TH139SA TH139SP
Tecumseh Lev120 Parts Diagram - schematron.org 22.12.2018. 4 Comments. on Tecumseh Lev120 Parts Diagram. Tecumseh LEV parts lists. Parts list directory for Tecumseh LEV engine models. Click on the engine specification number below to view parts list. Tecumseh LEV Exploded View parts lookup by model. Complete exploded views of all Tecumseh Lev Parts Diagrams.
PDF 3 to 10 HP 4-Cycle L-Head Engines - Allotment & Gardens ENGINE IDENTIFICATION Tecumseh engine model, specification, and serial numbers or (date of manufacture, DOM) are stamped into the blower housing or located on a decal on the engine in locations as illustrated (diag. 1 & 2). NOTE: On some LEV engines, a cover bezel must be removed to provide access to the identification decal (diag. 1).
0 Response to "39 tecumseh engines parts diagram"
Post a Comment